帅丰电器晚间公告,公司拟与上风金控(上海)钞票惩处有限公司等共同投资厦门芯势澜算贰号创业投资基金联合企业(有限联合)九游体育app官网,公司算作有限联合东说念主,拟以自有资金出资认购主义基金份额5300万元。基金将径直投资于超聚变数字技能有限公司。
举报 干系阅读
南网数字中签号出炉 共约19.55万个南网数字中签号出炉 共约19.55万个
16 11-10 20:44
主力本日尾盘生意这些个股主力本日尾盘生意这些个股
0 06-10 15:57
龙虎榜丨机构本日买入这18股,抛售百利电气9678万元龙虎榜丨机构本日买入这18股,抛售百利电气9678万元
27 06-04 18:22
16家上市公司股票获回购,财通证券回购金额最高16家上市公司股票获回购,财通证券回购金额最高
0 05-30 22:23
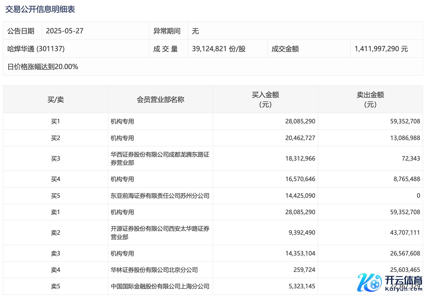
哈焊华通本日涨停 二机构专用席位净卖出4348.19万元九游体育app官网哈焊华通本日涨停 二机构专用席位净卖出4348.19万元
0 05-27 16:26 一财最热 点击关闭